Инфракрасный сенсорный кран со скрытой регулировкой воды Sanela SLU 21B

17 113 руб.



Общие характеристики
Страна: Чехия
Производитель: Sanela
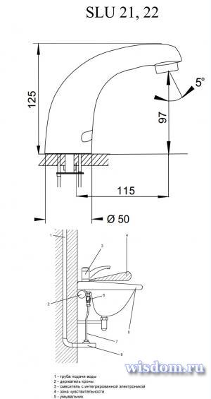
Размер:
*Инфракрасный сенсорный кран со скрытой регулировкой воды с питанием от батарейки 9В

*Характеристики:

Смесители SLU 21B предназначены для однотрубных систем холодной или предварительно температурно подготовленной воды с автоматической настройкой чувствительности, реагирует на присутствие рук в зоне чуствительности до 0,3 м. от датчика немедленным пуском воды. Вода выключается после удаления рук из зоны чувствительности, время задержки выключения воды возможно настрoить в диапазону 0,25 - 7,75 сек.
Функция автоматического выключения воды по истечении 5 минут времени
настройка параметров при помощи дистанционного управления SLD 03
СТАРТ/СТОП программа

*Технические данные:
Питающее напряжение: 9 В пост.
Потребляемая мощность: 0,8 Вт (состояние покоя), 10 Вт (при включ. вент.)
Срок службы кроны модель U9VL: прим. 2 года (при 4000 вкл./мес.)
* Зона чувствительности:
- стандартная: 0 - 0,3 м
- СТАРТ/СТОП программа: 0,05 - 0,1 м
Рабочeе давление: 0,1 - 0,8 MПа
Расход воды: 12 л/мин. (осведомит.)
Подача воды: наруж. реэьба G 1/2“
*Спецификация поставки:
- SLU 21B - арт. № 03215 - смеситель с интегрированным блоком электроники с питанием от батарейки, электромагнитный клапан (1шт.)
- coединительный шланг, угловой вентиль с обратным клапаном и фильтром (1 шт.), - силиконовая замазка, литиевая крона 9В, модель U9VL, крепежный комплект

*Принадлежности:
- SLD 03 - арт. № 07030
универсальное дистанционное управление для настройки параметров

- SLT 04 - арт. № 09040
3/4“ автоматический термостатический смесительный вентиль

- SLA 09 – арт. № 06090
литиевая крона 9В/1300 мА/час, модель U9VL, срок службы около 2 лет при 4000 включений в месяц

===============================================
Посмотреть пульты ДУ

Наша компания доставит купленный Вами товар собственным транспортом в любое удобное для Вас время и день, включая выходные.

Стоимость доставки 1000 руб.

Санкт-Петербург:
Доставка до подъезда составляет 1000 рублей (независимо от объема). Доставка за пределы КАД оплачивается отдельно (45 рублей за 1 километр)

Москва и Московская область:
Доставка до подъезда в Москве составляет 1000 рублей (независимо от объема). Доставка за пределы МКАД оплачивается отдельно (45 рублей за 1 километр).

Другие регионы России:
Доставку товаров мы осуществляем совместно с партнерами - лучшими отечественными экспедиторскими компаниями. Об условиях оплаты доставки товара в Ваш город Вас проконсультирует менеджер компании.

Возможен подъем товара на этаж (по согласованию с экспедитором).

- Наличным платежом при достакве товара
- Банковским переводом

Наши реквизиты:

"Сантехника для дома" ИП Андреев А.В.

Свидетельство о гос. Регистрации физического лица в качестве индивидуального предпринимателя (ОГРНИП) 305770000040354

ИНН 772729311097

Банковские реквизиты:

р/с 40802810938060052465
в Царицынское отделение № 7978 Сбербанка России ОАО
к/с 30101810400000000225
БИК 044525225

Заказ обратного звонка ×
Уважаемые покупатели!

Закажите обратный звонок и наши сотрудники обязательно свяжутся с Вами.

Это поле, обязательно для заполнения!
Это поле, обязательно для заполнения!
* - поля, обязательные для заполнения.

Внимание!

Фильтром не пользоватся. Возможны высокие нагрузки и отключения сайта на хостинге!


Спасибо за понимание.
Приятных покупок!

×